Bufor 7000l Dwie Wężownice




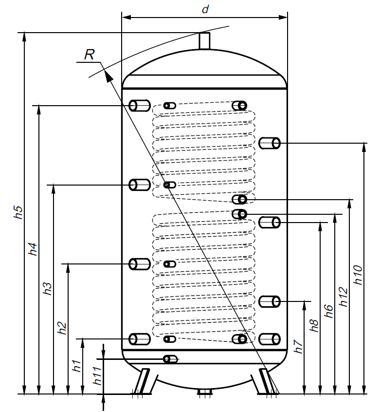
Wysokość: 380 cm
Średnica z izolacją: 177 cm
Średnica bez izolacji: 160 cm
Pojemność rzeczywista: 6699,5 l
Powierzchnia dolnej wężownicy: 4,7 m²
Powierzchnia górnej wężownicy: 3,2 m²
Maksymalna temperatura: 95°C
Maksymalne ciśnienie: 3 bar
Ilość przyłączy 6/4”: 9
Możliwość podłączenia grzałki elektrycznej: Tak
Czas realizacji: 3 tygodnie
5 lat gwarancji
Bufor ciepła 7000L PS-02 z dwiema wężownicami to zaawansowany model stworzony z myślą o dużych kotłowniach, obiektach przemysłowych oraz instalacjach o wyjątkowo dużym zapotrzebowaniu na energię. Zbiornik o pojemności bliskiej 7000 litrów pozwala zgromadzić około 437 kWh energii, co przekłada się na stabilną i długotrwałą pracę całego systemu grzewczego.
Dla budynku o powierzchni 700 m², przy standardowym zapotrzebowaniu 50 W/m², bufor ten zapewnia ogrzewanie przez około 738 minut (ponad 12 godzin), bez konieczności ciągłego uruchamiania kotła. Dzięki temu kocioł pracuje w bardziej optymalnych warunkach, zużycie paliwa jest mniejsze, a komfort użytkowników wyraźnie rośnie.
Model PS-02-7000 został wyposażony w dwie wężownice – górną i dolną – co umożliwia jednoczesne podłączenie kilku źródeł ciepła. Najczęściej jedna wężownica współpracuje z instalacją solarną, a druga z kotłem gazowym lub olejowym. Takie rozwiązanie zwiększa elastyczność i pozwala efektywnie zarządzać energią w dużych systemach grzewczych.
Dlaczego warto?
✅ 7000 litrów pojemności roboczej – solidne wsparcie dla kotłów dużej mocy (80 kW i więcej)
✅ 437 kWh energii zmagazynowanej – wystarcza na około 738 minut ogrzewania budynku o powierzchni 700 m²
✅ Dwie wężownice – możliwość jednoczesnej współpracy z różnymi źródłami energii, np. instalacją solarną i kotłem gazowym
✅ Stabilna praca instalacji – mniej cykli rozpaleń i równomierne oddawanie ciepła
✅ Elastyczność układu – łatwa integracja z kotłami, kolektorami słonecznymi i innymi źródłami w dużych obiektach

Ilość zmagazynowanej energii cieplnej

Ilość zaoszczędzonego surowca do spalania w skali roku

Energia cieplna

Woda użytkowa
✅ Wysokość: 380 cm
✅ Średnica z izolacją: 177 cm
✅ Średnica bez izolacji: 160 cm
✅ Pojemność rzeczywista: 6699,5 l
✅ Powierzchnia dolnej wężownicy: 4,7 m²
✅ Powierzchnia górnej wężownicy: 3,2 m²
✅ Maksymalna temperatura: 95°C
✅ Maksymalne ciśnienie pracy zbiornika: 3 bar
✅ Maksymalne ciśnienie pracy wężownicy: 10 bar
✅ Ilość przyłączy 6/4”: 9
✅ Możliwość podłączenia grzałki elektrycznej: Tak
✅ Klasa efektywności energetycznej: C
*Izolacja zdejmowalna
✅ Etykieta energetyczna
✅ Karta produktu
✅ Karta gwarancji
✅ Deklaracja zgodności producenta
✅ Faktura VAT 23%
Kupując bufor ciepła o pojemności 7000L firmy KHT, model PS-02, otrzymujesz dokładnie taki zbiornik, jaki widzisz obok – fabrycznie nowy, w solidnej izolacji, starannie zabezpieczony i zafoliowany na czas transportu 🚛✅.
Do zestawu dołączamy komplet dokumentów potwierdzających jakość i zgodność produktu. Dzięki temu masz pewność, że bufor spełnia wszystkie wymogi programów Mój Prąd 6.0 i Czyste Powietrze, co umożliwia łatwe uzyskanie dofinansowania.
